Neues Patent von Samsung zeigt erweitertes UI von Smartwatches

Simon Lüthje
Simon Lüthje · 1 Minute Lesezeit

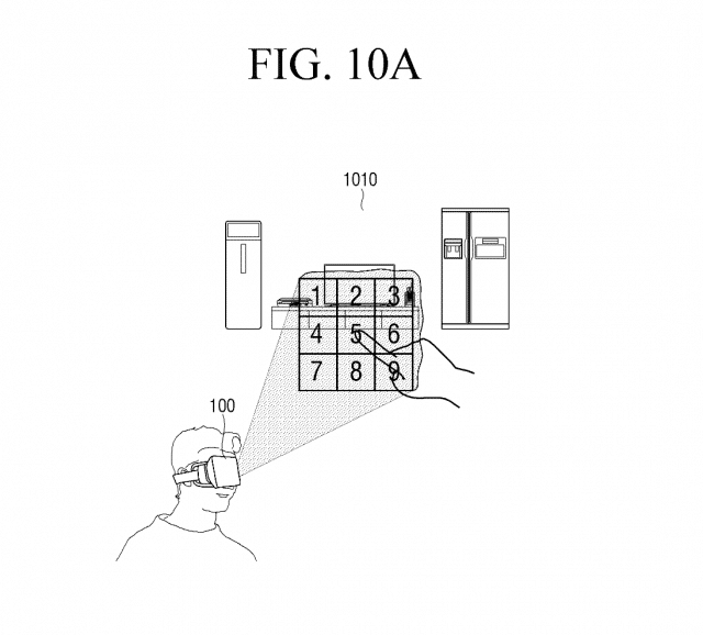
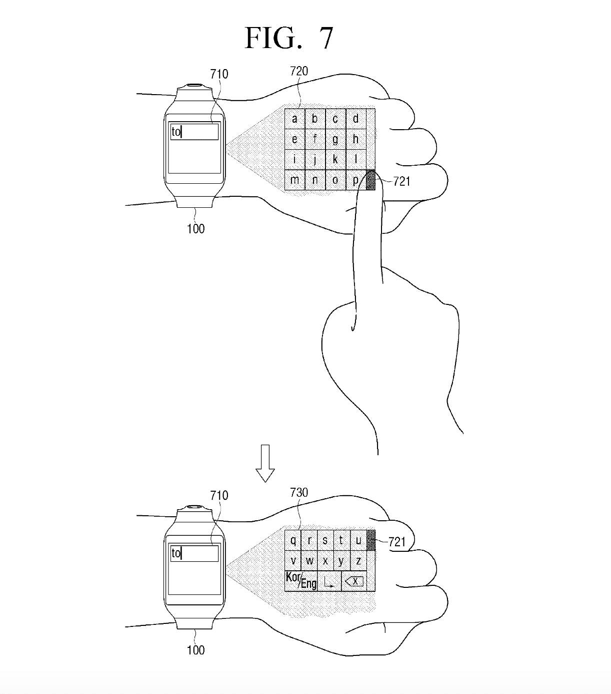
Samsung ist als großes Technologie-Unternehmen einer der Vorreiter was Smartphones betrifft. Nun hat Samsung ein neues Patent angemelet, welches die Interaktionen mit der Smartwatch auf ein neues Level bringen soll. Durch Projektion soll die Bedienoberfläche erweitert werden.

Der kleine Bildschirm eine Smartwatch am Handgelenk ist kaum ausreichend für eine komfortable Bedienung. Das hat auch Samsung gemerkt und beschreibt mit dem Patent die Möglichkeit einer Projektion auf Handgelenk, Unterarm oder die nähere Umgebung. Die Smartwatches der Zukunft könnten also über einen integrierten Projekte und weitere Sensoren zur Überwachung verfügen. So hat man einen tragbaren Projektor am Unteram, der auch noch Nutzereingaben erkennt.

Die Erweiterung des UI (User Interface) ist sehr spannend. Eventuell haben Smartwatches damit ja endlich ihren Durchbruch. Bis das erste Modell erscheint, wird es aber sicherlich noch einige Zeit dauern.

Quelle: Android Headlines via Noteboockcheck